Теория тепловых насосов (часть 5)

9. ДРУГИЕ ТИПЫ ТЕПЛОВЫХ НАСОСОВ

 

Кроме описанных циклов существует множество других устройств, которые можно назвать тепловыми насосами. В основ¬ном они еще слишком дороги либо энергетически неэффективны. Приведённый ниже обзор таких устройств — полезный источник информации.

 

Для прохождения пути от схемы до реализации их в металле нужно преодолеть существенные финансовые и технические препятствия, однако в случае некоторых экзотических тепловых насосов препятствиями являются также и предрассудки вместе с боязнью нововведений.

 

9.1. ЦИКЛ СТИРЛИНГА

 

В 1816 г. была запатентована тепловая машина с внешним сгоранием и воздухом в качестве рабочего тела. Цикл Стирлинга включает изотермический теплообмен и изменение давления при постоянном удельном объеме, что достигается с помощью внутреннего теплообмена в генераторе.

Цикл поясняется на рис. с помощью р—v диаграммы. Изотермическое сжатие от точки 1 к точке 2 происходит при внешнем охлаждении газа. При прохождении через регенератор газ нагревается за счет его тепла, которое является внутренним. Между точками 3 и 4 к газу подводится внешнее тепло, и он расширяется, производя полезную работу, а затем возвращается назад через регенератор, где охлаждается до состояния в точке 1.

Цикл Стирлинга интересен тем, что все процессы в нем обратимы, а внешний теплообмен проходит изотермически, откуда следует, что идеальный цикл Стирлинга имеет КПД идеального цикла Карно. Это же относится и к холодильной машине и тепловому насосу, работающему по циклу Стирлинга.

Принятая в описании цикла некоторая идеализация не соответствует реальному циклу. Основные допущения таковы:

1. Движение поршня предполагалось прерывистым, а не синусоидальным.

2. Регенератор без трения и со 100%-ной эффективностью.

3. Внешний теплообмен с помощью идеальных теплообменников.

Теплообменники всегда представляют проблему для машин с внешним сгоранием, и в действительности имеются две существенные разности температур при источнике и стоке тепла. Но, несмотря на эти трудности, цикл Стирлинга успешно используется в некоторых низкотемпературных холодильниках.

На рис. показана элегантная конструкция с V-образным поршневым компрессором.

3cp_teoria13

 

3cp_teoria14

В положении 1 газообразное рабочее тело сжимается и изотермически отдает тепло тепловому стоку — наиболее горячей точке цикла. В положении 2 газ проходит через регенератор при почти постоянном объеме, а затем расширяется, одновременно воспринимая тепло. Регенератор охлаждает газ, так что в этой точке достигается минимальная температура цикла. В положениях 3 и 4 газ возвращается через регенератор снова при почти постоянном объеме, но здесь газ значительно более разрежен, и он поглощает тепло от регенератора.

3cp_teoria15

Очевидно, что в этой реальной машине имеется компромисс между идеальными процессами при постоянном объеме и постоянной температуре, но ее эффективность остается высокой, и в этой области проводятся интенсивные работы. Одна из разновидностей описана в работе — это свободнопоршневой двигатель — тепловой насос по циклу Стирлинга, названный Дуплекс—Стирлинг.

3cp_teoria16

Считая теплообмен изотермическим, показано, что тепловой насос дает теплоту

 

Q = RMhT2ln(p2\p3)

 

Приравнивая потоки тепла в работе, подсчитали КПЭ системы. Результаты приведены в табл.

 

В сравнении с эффективностью, рассчитанной для двойного цикла Ренкина, эти цифры предпочтительнее, но окончательный вывод о преимуществах сравниваемых систем можно будет сделать после создания и испытания работающих систем со всеми их теплообменниками.

 

Таблица КПЭ для теплового насоса с двойным циклом Стирлинга

 

3cp_teoria17

9.2. ЦИКЛ БРАЙТОНА

Этот цикл в основном применяется для газотурбинных двигателей преимущественно как открытый цикл, в котором воздух засасывается из атмосферы, а газообразные продукты сгорания выбрасываются в атмосферу, используемую как безграничный тепловой сток. При рассмотрении замкнутого энергетического цикла его «атмосферная» часть изображается как охлаждение при постоянном давлении (рис. ).

3cp_teoria18

Принципиальная особенность цикла Брайтона, представляю¬щая интерес для тепловых насосов, состоит в возможностях применения приводного двигателя с внешним сгоранием при приемлемой эффективности. Идеальными приводными двигателями для теплового насоса были бы вращающиеся машины, работающие в нужном интервале температур и давлений. Все тепло, сбрасываемое на низкотемпературной стороне двигателя, могло бы складываться с.теплом, даваемым тепловым насосом при температуре в точке 2, что повысило бы КПЭ системы.

В промышленных теплонасосных установках мощностью в десятки мегаватт можно применять существующие газотурбинные установки. Идеальным было бы сочетание газовой турбины с центробежным компрессором, работающим при той же скорости вращения и входящим в теплонасосный цикл Ренкина. Все сбросное тепло газовой турбины здесь могло бы складываться с теплом, восстановленным в тепловом насосе. По-видимому, капиталовложения и эксплуатационные расходы такой установки будут очень велики, поэтому, несмотря на большую экономию топлива, такая машина появится нескоро.

Теплонасосный цикл Брайтона — это обращенный энергетический цикл (на рис. показан замкнутым). Он бывает двух типов. Первый из них — засасывание окружающего воздуха в точке 1, нагрев за счет сжатия до точки 2, отдача полезного тепла между точками 2 и 3 с помощью одного или двух теплообменников, расширение в турбине 3—4 и выброс воздуха в атмосферу. Отметим, что здесь трудно получить существенную разность температур между Т1 и Т3.

Другой тип показан на рис. Здесь внешний воздух засасывается в точке 3, расширяется до давления ниже атмосферного, подогревается в теплообменнике окружающим воздухом, а затем снова сжимается до давления в обогреваемом помещении (точка 2). Основная проблема этой схемы состоит в создании машины для давления ниже атмосферного и в обмерзании теплообменника.

Еще одна возможность иллюстрируется с помощью описания автомобильного воздушного кондиционера «Rovac».

3cp_teoria19

Основой системы на рис. служит ротационный двухполостной компрессор-расширитель, подобный устройству на рис.

3cp_teoria20

Окружающий воздух сжимается, охлаждается до температуры окружающей среды, затем расширяется с понижением температуры и подается в салон автомобиля. Таким образом в автомобиле происходит кондиционирование воздуха без рециркуляции с помо¬щью очень компактного устройства.

Наиболее широкое применение охлаждение по циклу Брайтона находит при кондиционировании воздуха в пассажирских самолетах. Поскольку небольшое количество сжатого воздуха всегда можно получить от двигателей и охладить его потоком окружающего воздуха, охлажденный воздух просто подается в кабину, поддерживая в ней давление и снабжая свежим холодным воздухом.

Теоретический расчет теплового насоса с двойным циклом Брайтона приведен в работе, а его результаты показаны в табл.

3cp_teoria21

Таблица КПЭ двойного цикла Брайтона при минимальной внутренней температуре 21° С

 

Высокие значения КПЭ объясняются следующим:

1) газовая турбина напрямую соединена с воздушным компрессором;

2) для необходимой интенсивности теплообмена с окружающим воздухом при 21° С потребовалась высокая максимальная температура цикла.

 

 

9.3. ТЕРМОЭЛЕКТРИЧЕСКИЙ ТЕПЛОВОЙ НАСОС

 

Термоэлектрический тепловой насос, или Пельтье-тип теплового насоса, достаточно известен. Он нашел одно или два применения, где хорошо удовлетворяет предъявленным требованиям.

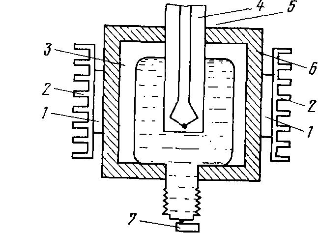
Нагрев и охлаждение спаев между разнородными материалами вызывают протекание электрического тока. Обратный эффект состоит в том, что пропускание электрического тока через такие спаи вызывает поток тепла. Элементарный термоэлектрический теп¬ловой насос получается при соединении полупроводников р- и n-типа, как показано на рис. В этом случае протекание тока в указанном направлении вызывает поток тепла от спая n/р к подводящим ток электродам.

Тепловой поток связан с коэффициентом Зеебека S. Показатель добротности термоэлектрических материалов имеет вид S2/kp, где k — теплопроводность; 1/р — электропроводность. Этот показатель зависит от температуры, поэтому материалы должны быть выбраны в соответствии с рабочим интервалом температур.

Тепловой баланс одного плеча теплового насоса (см. рис.):

3cp_teoria22

Четыре члена справа отражают соответственно термоэлектрический теплонасосный эффект, джоулев нагрев полупроводника, поток тепла за счет теплопроводности от горячего спая к холодному и джоулев нагрев спая. Отметим, что если пренебречь последним членом, то для заданных I и L/А величина Q не зависит от размеров устройства. Это позволяет реализовать его миниатюризацию до размеров в несколько миллиметров.

3cp_teoria23

Реальные тепловые насосы собираются из большого числа элементов, соединенных последовательно, а в тепловом отношении как последовательно, так и параллельно, откуда возникают проблемы одновременного получения теплового контакта и электрической изоляции соединения.

Несмотря на проблемы отыскания недорогих и эффективных полупроводниковых материалов и их тщательной сборки, эти устройства нашли два интересных применения, в которых значения КОП близки к достигнутым в абсорбционном цикле.

Пример 1. Охлаждение флуоресцентных ламп для поддержания оптимального давления. Применение описанного устройства здесь удобно благодаря его малому размеру и подводу электропитания к самой лампе. Небольшое увеличение расхода электроэнергии Окупается существенным улучшением светоотдачи.

Пример 2. Поддержание нулевой температуры холодного спая термопар (рис. ). Здесь термоэлектрическая система подходит идеально, поскольку она реверсивна и обеспечивает строго пропорциональное управление. Кроме того, в отличие от других холодиль¬ных систем ее легко миниатюризовать (оба этн примера фактически не тепловые насосы, а термоэлектрические холодильники, ие предназначенные для теплоснабжения.)

 

9.4. МЕНЕЕ ИЗВЕСТНЫЕ СИСТЕМЫ

 

Имеется много других типов тепловых насосов: обращенный топливный элемент (Имеется в виду электрохимический генератор.), тепловой насос с использованием теплоты плавления, механохимического и магнетокалорического эффектов. За недостатком информации они здесь не описываются.

Многие циклы, рассмотренные в этой главе, могут встречаться па практике в различных комбинациях, например циклы Отго— Ренкина, Брайтона — Ренкина, Стирлинга — Ренкина. В других приложениях могут представить интерес циклы Ренкина — Брайтона или Стирлинга-—Брайтона. Области применения этих циклов со всеми их вариациями беспредельны.

 

Мы реализуем тепловые насосы, компрессоры и прочее холодильное оборудование с 2001 года. 10 лет для компании – возраст, достаточный для того чтобы набраться опыта и иметь силы продолжать развиваться дальше;

Мы не только поддерживаем долгосрочное взаимовыгодное сотрудничество с партнерами за счет отличных условий, но и привлекаем новых поставщиков, предоставляющих нам холодильные машины, воздухоохладители и испарители под реализацию;

Нам доверяют дилерские полномочия производители с мировым именем, известные высочайшим качеством и надежностью холодильного оборудования и сопутствующих систем обслуживания.